双缸双作用隔膜泵
工作原理及结构概述 1 工作原理 隔膜泵工作原理见图3-1,电机减速机①带动主轴及偏心轮②旋转,并且通过连杆③、十字头④、活塞杆⑤,将旋转运动转化为活塞⑨在油缸⑩内的往复直线运动。 当活塞⑨向左运动时,活塞⑨带动液压油将右隔膜室⑭中隔膜拉到左方向,借助矿浆喂料压力打开进料阀⑥,隔膜室吸入矿浆后被充满; 当活塞⑨向左运动到极限位置时,右隔膜室⑭的料浆吸入过程也随之结束。同时将左隔膜室⑧中矿浆压出。
关键词:
所属分类:
隔膜泵
咨询热线:
双缸双作用隔膜泵
工作原理及结构概述
1 工作原理
隔膜泵工作原理见图3-1,电机减速机①带动主轴及偏心轮②旋转,并且通过连杆③、十字头④、活塞杆⑤,将旋转运动转化为活塞⑨在油缸⑩内的往复直线运动。
当活塞⑨向左运动时,活塞⑨带动液压油将右隔膜室⑭中隔膜拉到左方向,借助矿浆喂料压力打开进料阀⑥,隔膜室吸入矿浆后被充满; 当活塞⑨向左运动到极限位置时,右隔膜室⑭的料浆吸入过程也随之结束。同时将左隔膜室⑧中矿浆压出。
当活塞⑨向右方向运动时,活塞⑨借助油介质将右隔膜室⑭中隔膜推向右方向运动,同时右隔膜室⑭内料浆液体受压,腔体压力升高,出料阀⑦被打开,通过出料阀⑦将矿浆排到泵外(此时进料阀⑥关闭),输送到管路中。同时左隔膜室⑧中隔膜向右运动,将矿浆吸入。
由于矿浆不接触活塞等运动部件,避免了这些部件的磨蚀,减少了维修次数和运行成本。同时,通过设置灵敏、可靠的自动化检测系统,保证了橡胶隔膜的长使用寿命。以上优点使往复式活塞隔膜泵成为矿浆管道化输送的理想设备。

①电机减速机 ②主轴及偏心轮 ③连杆 ④十字头 ⑤活塞杆 ⑥进料阀 ⑦出料阀
⑧左隔膜室 ⑨活塞 ⑩油缸 ⑪磁感应探头 ⑫导杆 ⑬橡胶隔膜 ⑭右隔膜室
图3-1 隔膜泵工作原理图
2 结构概述
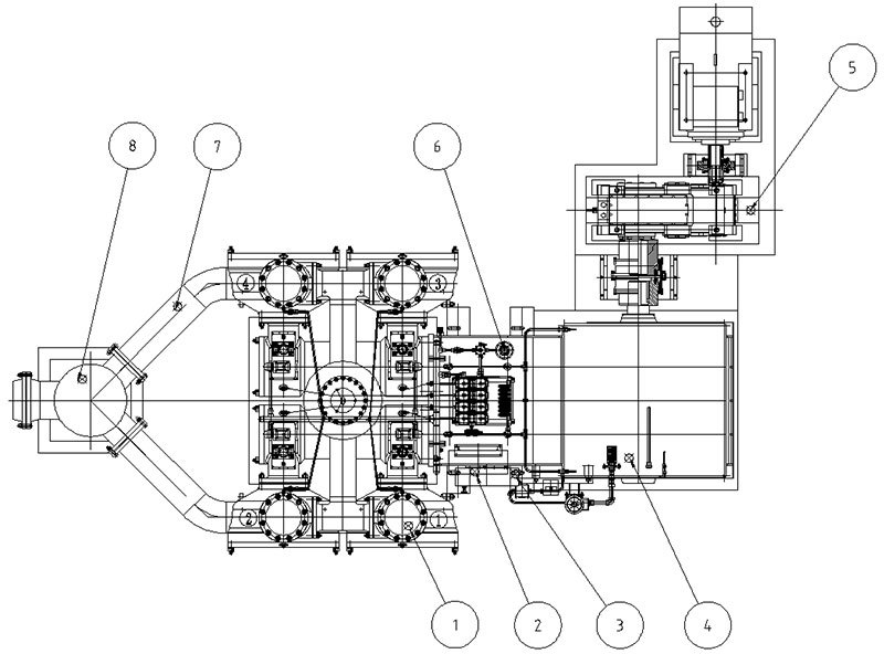
本系列隔膜泵(图3-2)由液力端①、电气控制系统②、接线盒支架③、动力端④、电机减速机部装⑤、液压控制系统⑥、进料弯管⑦、进料流量补偿罐⑧等部分组成。

①液力端 ②电气控制系统 ③接线盒支架 ④动力端 ⑤电机减速机部装 ⑥液压控制系统 ⑦进料弯管 ⑧进料流量补偿罐
图3-2 隔膜泵结构示意图
2.1 液力端
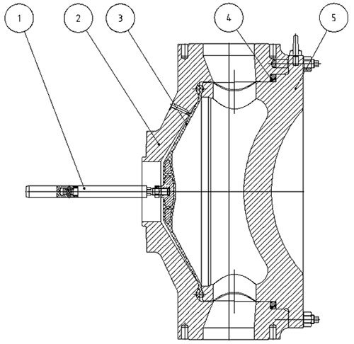
液力端(图3-3)通过活塞、活塞杆、橡胶隔膜的运动以及进、出料阀的开闭完成料浆的输送工作,主要由进料管①、进料阀箱②、隔膜室③、出料阀箱④ 、氮气包⑤ 、出料管⑥ 、油缸⑦、出料管支架⑧、阀箱支架⑨、底座⑩等零部件组成。

①进料管 ②进料阀箱 ③隔膜室 ④出料阀箱 ⑤氮气包
⑥出料管 ⑦油缸 ⑧出料管支架 ⑨阀箱支架 ⑩底座
图3-3 液力端结构示意图
2.1.1 进料阀箱

①阀座 ②阀球 ③挡套 ④阀箱体 ⑤密封圈 ⑥定位板 ⑦阀盖
图3-4 进料阀箱结构示意图
进料阀箱是与弯管相连接的进料单向阀。主要由阀座①、阀球②、挡套③、阀箱体④、高压密封圈⑤、定位板⑥、阀盖⑦等组成。
阀座使用耐磨合金钢材料制造并经过表面硬化处理,耐磨损、抗冲击。阀座与阀箱体配合面为锥面,安装牢固后可以保证其紧密贴合,受液体冲击时无漂浮现象。橡胶待铁阀芯加工喷砂处理后进行硫化,粘接,橡胶与铁阀芯用胶粘接牢固,耐冲击,不起层,通过液体喂料压力打开或关闭阀球以实现进、排料的目的。阀座可以通过打压接头用液压方式进行拆卸,简便易行。阀球为整体式结构,坚固耐用。挡套安装在阀箱内起阀球上下运动的导向作用。阀箱侧面设计有放料口,用外六角螺塞封堵,便于检修时松开排放料浆。
2.1.2 出料阀箱

①阀座 ②阀球 ③限位套 ④胶垫 ⑤阀盖 ⑥密封圈 ⑦阀箱体
图3-5出料阀箱结构示意图
出料阀原理与进料阀箱相同。阀箱体⑦与隔膜室联接,设计有放料口,放料口用于检修时排放料浆。
2.1.3 隔膜室

①导杆 ②橡胶隔膜 ③隔膜腔 ④密封圈 ⑤隔膜室盖
图3-6 隔膜室结构示意图
隔膜腔和隔膜室盖组合后形成的空间由橡胶隔膜分为橡胶隔膜行程位置空间(推进液流动通道)与料浆流动通道。料浆流动通道有两个开孔,底部进料口通过弯管连接进料锥阀阀箱,顶部出料口连接出料锥阀阀箱。橡胶隔膜将推进液油与料浆分隔开,避免了推进液油与料浆的混合,以保证油缸中运动部件在清洁的油液中工作,从而延长了活塞使用寿命和易损件的更换时间。橡胶隔膜上装有导杆,导杆与补、排油信号发生器共同组成的隔膜行程检测装置,用于检测隔膜行程位置,以保证橡胶隔膜在较佳工作范围内进行工作。
2.1.4 出料氮气包

①壳体 ②气囊 ③压盖
图3-7出料氮气包结构示意图
出料氮气包主要由壳体①、气囊②、压盖③等组成,安装于出料部分的上部。在设备试车及运行前,可通过管路连接于耐震压力表及该表下部的四通连接块上,在设备试车及运行前,可通过充气工具将氮气瓶与四通连接块联接,对出料氮气包预充氮气,以平衡出料工作压力,充气压力值见本说明书第2.2.5节。

图3-8出料氮气包气路示意图
2.1.5油缸

①缸盖 ②顶套 ③活塞 ④缸套 ⑤活塞杆 ⑥缸体 ⑦连接法兰
⑧密封盒 ⑨活塞杆密封圈压盖
图3-9油缸结构示意图
油缸缸体⑥为焊接件,加工后与动力端箱体及隔膜室相连接,下端牢固把合于油缸支架上。活塞③、活塞杆⑤与动力端十字头一起运动。装配在活塞杆⑤上并用双螺母紧固的活塞③,在一个可更换的油缸缸套里运动。活塞杆⑤和缸套④,表面经过硬化处理,具有高耐磨性,即使因隔膜破裂造成矿浆进入油缸内,也不会立即损坏活塞杆⑤和缸套④。活塞密封采用带支撑多皮碗密封结构,其密封圈采用夹布材料模压制成,具有强度高、耐磨性好、摩擦系数小的特性,同时在活塞③上还装有高耐磨、滑动性好的导程环,支撑活塞在缸套中滑动,可以提高活塞③与缸套④的使用寿命。用缸盖①压紧顶套②可以固定缸套④,使之不能滑动或转动。油缸密封盒⑧的密封装置可以封住油缸内的推进液油,以保证补、排油信号的准确度。
2.2 动力端

①箱体 ②十字头 ③连杆 ④偏心轮及主轴 ⑤箱盖
图3-10动力端结构示意图
动力端箱体①采用焊接结构,焊后进行消除应力处理,使用数控设备和专用工装治具进行加工,保证了良好的几何精度与尺寸精度。主轴④由箱体两侧的两个双列圆柱调心滚柱轴承支撑,自行调整完成连杆③与轴的垂直定位;两个偏心轮的偏心从轴向看成90度相角,每个偏心轮上都安装有连杆③;连杆③大端通过圆柱滚子轴承安装在偏心轮④上,连杆③小端与十字头②通过销轴连接,并由两个单列圆柱滚子轴承支撑。偏心轮及主轴④、连杆③、十字头②及轴承等零件组成两列曲柄连杆机构,每一列通过活塞杆与活塞连接,对应着液力端一个双作用油缸。
工作时,主电机通过减速机减速增矩后将动力传递给动力端主轴及偏心轮,主轴带动偏心轮旋转,使连杆③按偏心固定角度摆动以带动十字头②、活塞杆做往复直线运动。十字头②在上下导板中往复滑动,有充足的冷却润滑液保证其良好工作;各部分的轴承分别有循环流动的冷却润滑油液,保证了轴承的使用性能;在动力端箱体①的两侧设有活塞杆及十字头与导板的安装检查孔,以便于检查、维修。
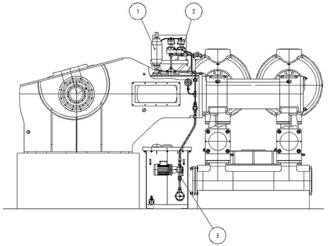
2.3 液压控制系统
液压控制系统主要由控制仪表及充气系统、推进液系统、润滑及冲洗系统、超压保护及排气系统等组成,通过各系统的正常工作,保证设备的正常运转。
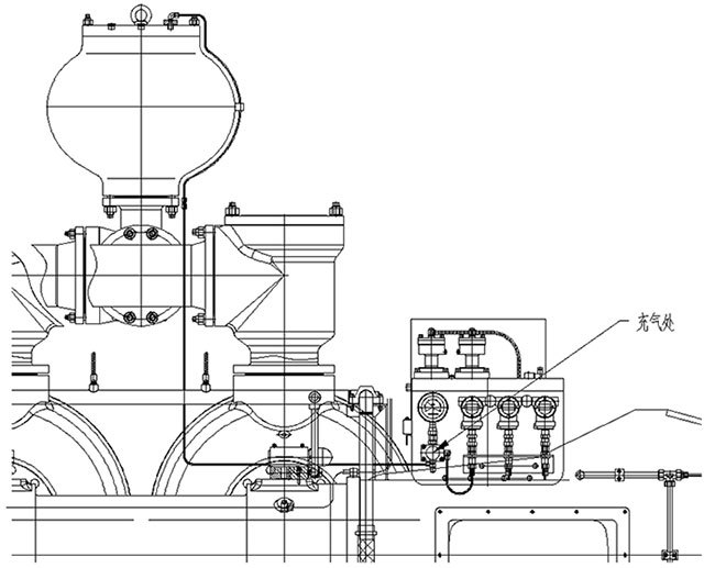
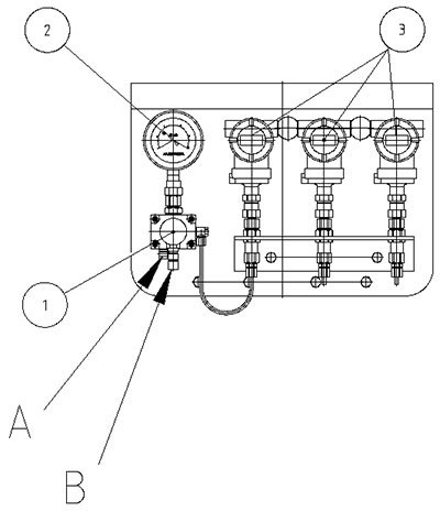
2.3.1控制仪表及充气系统

①四通连接块 ②耐震压力表 ③压力变送器图
3-11控制仪表及充气系统示意图
A处连接出料氮气包,B处连接充气工具,压力变送器③通过测压管路与相关部件连接,反馈工作压力值。操作者也可以直接在耐震压力表②上观看到隔膜泵的工作压力。
当隔膜泵的料浆排出压力达到最高工作压力上升到预先设定的报警压力点1.3MPa时,发出报警信号;当达到预先设定的停机压力点1.5MPa时,则发出关闭主电机信号。
当推进液最小压力低于0.7MPa时接通推进液泵,最大压力达到1.2MPa时关闭推进液泵,保证推进液系统随时进行补油。
供气系统中空气压力应大于0.45MPa。当供气系统中空气压力低于0.45MPa时,发出报警信号;当供气系统中空气压力低于0.4MPa时,将发出关闭主电机信号。
充气时,可以通过针式节流阀连接充气工具,对氮气包内气囊上部补充氮气,用以平衡工作压力。
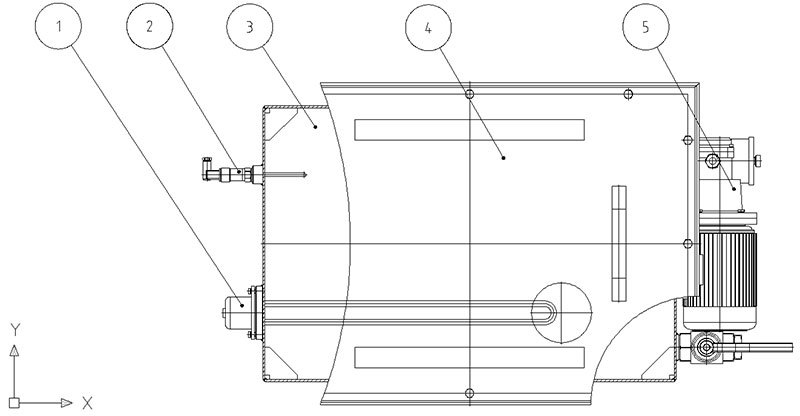
2.3.2 润滑及冲洗系统
润滑及冲洗系统(图3-12)由油泵电机组①、过滤器②、两位三通电磁换向阀③、耐震压力表④以及输油管路等组成。

①油泵电机组 ②过滤器 ③压力表装置
图3-12润滑及冲洗系统示意图
该润滑系统为主轴轴承、十字头处销轴轴承、十字头与导板运动副间提供强制润滑,管路上的压力表用来显示润滑油压力。
该冲洗系统使用油泵电机组在油箱(动力端箱体)中吸出液压油,不间断的冲洗活塞杆,起润滑和冷却作用,以保证活塞杆在活塞杆轴密封处良好的运动。
2.3.3超压保护及排气系统

①单向阀 ②手动截止阀 ③溢流阀(安全阀)
图3-13超压保护及排气系统示意图
超压保护工作原理是:当隔膜泵的料浆排出压力达到或超过最高工作压力时,主电机将断电,由于电机在惯性力的作用下不会立即停止运转,工作压力仍会继续升高;或者在工作压力开关失灵而排出压力继续升高时,如果出料压力超过溢流阀③设定值(溢流阀的开启压力设定为1.8MPa),溢流阀③会自动开启并将推进液通过回油管、溢流阀③排出到动力端油箱卸压。因此,可以保护隔膜泵及系统不会因为压力过高而损坏,从而起到全面保护功能。
排气工作原理是:将手动截止阀②和单向阀①安装在隔膜腔的上部,其作用是通过调整手动截止阀②而将推进液油中含有的气体通过回油管排回到油箱中,避免气体在隔膜室中产生噪声,也可以保证隔膜不受气体鼓胀而破损。单向阀①用来阻止气体回流。
注意:隔膜泵每次重新启动之前,均应该将截止阀打开进行排气处理,以保证设备良好的运行。
2.3.4推进液系统

①蓄能器 ②两位两通阀及电磁阀 ③油泵电机组及过滤器
图3-14推进液系统示意图
推进液系统的油泵电机③在独立安装的液压泵站中吸油,将液压油通过油路分别送入两位两通阀组②和蓄能器①。泵工作时,当蓄能器③中油的压力低于0.7MPa时启动油泵电机组③;当压力达到1.2MPa时停止油泵电机组③。从而在蓄能器①中保证一定数量的油随时提供给隔膜室。两位两通阀组②的作用是控制液压油进入或排出隔膜室。
设备运转时,活塞与隔膜之间推进液体积应保持在限定值范围内,但推进液体积因活塞长期换位移动导致活塞密封圈磨损,以及油缸与隔膜室各密封处微耗而发生变化。推进液减少,可导致隔膜撞击隔膜腔后壁而损坏;推进液体积过量,会使隔膜过应力鼓胀而损坏。
当隔膜室中的油量不正常时,随隔膜往复运动的导杆磁环运动到信号发生器的位置,信号发生器检测到磁力线后,就会发出补油或排油信号给电控系统PLC,PLC指挥两位三通电磁阀动作,切断压缩空气使两位两通阀内通道导通,可以使隔膜室中的油量得到补充或排泄,以保证活塞与隔膜之间推进液体积保持在限定值范围内,经过推进液油量的调整使橡胶隔膜始终处于最佳的工作范围,保证输送料浆的工作可以正常进行。

A排油阀 B补油阀
①单向阀 ②阀推杆 ③小隔膜 ④阀弹簧 ⑤密封块 ⑥喷嘴
图3-14两位两通阀结构示意图
两位两通阀(图3-14)由排油阀A、补油阀B组成。正常状态是电磁阀处于开路状态,气体进入阀内,压缩小隔膜③,使阀推杆②与喷嘴⑥闭合。当需要进行补油动作时,补油电磁阀闭合,气体泄掉,补油阀B内密封块⑤在弹簧力的作用下升起,喷嘴口打开后油经过喷嘴⑥和单向阀①在隔膜吸入行程进入隔膜腔内,隔膜排出行程时,由于油缸内压力大于推进液系统补油管路油压,推进液无法进入油缸内,但由于单向阀①作用,油也无法从补油阀B阀腔内溢出。当需要排油动作时,排油电磁阀闭合,切断气路,排油阀A内密封块在弹簧力的作用下升起,油经喷嘴⑥在隔膜排出行程将油排出。
2.3.5液压泵站

①加热器 ②铂热电阻 ③箱体 ④箱盖 ⑤油泵电机及过滤器
3-15液压泵站示意图
液压油箱主要是为推进液系统提供液压油。为保证油箱内的清洁,应定时清理油箱。初次使用时每隔三个月至半年清理一次油箱,以后每隔一年清理一次油箱。
2.4 电机减速机部装

①电机底座 ②主电机 ③弹性柱销齿式联轴器
④减速机 ⑤减速机底座 ⑥鼓形齿式联轴器
图3-16电机减速机部装示意图
主电机②与减速机④安装在焊接结构的电机底座①上。电机底座①与减速机底座⑤的安装表面经机械加工,保证了主电机②与减速机④、弹性柱销齿式联轴器③、鼓形齿式联轴器⑥的同心对准状态。主电机②轴与减速机④输入轴通过弹性柱销齿式联轴器③连接起来,减速机④输出轴与动力端主动轴通过鼓形齿式联轴器⑥连接,将动力输入动力端。弹性柱销齿式联轴器③和鼓形齿式联轴器⑥安装有安全防护罩,以保证使用人员接近时的安全性。
2.5电控系统
电控系统的控制项目为:橡胶隔膜工作位置控制、最高工作压力控制、推进液空气压力控制、推进液油压力控制;推进液油泵电机、冲洗油泵电机、润滑油泵电机、主电机等。以上控制项目由PLC来实现,并完成各控制系统间联锁功能。
(1)启动主电机必须同时满足的条件(逻辑与条件)
① 推进液油泵电机组运行正常;
② 润滑及冲洗油泵电机组运行正常;
③推进液空气压力>0.45MPa;
④工作压力≤1.2MPa;
⑤检修旋钮复位。
(2)主电机停机控制条件(满足一项条件则停机,也可根据用户工艺要求调整)
① 推进液油泵电机组运行故障;
② 连续15次补、排油;
③推进液空气压力≤0.4MPa;
④工作压力≥1.5Mpa;
(3)报警不停机控制条件
① 连续10次补、排油;
② 工作压力≥1.3MPa;
③ 推进液空气压力≤0.45MPa;
隔膜位置控制系统由检测单元、控制单元、执行单元组成。检测单元:由隔膜带动导杆前后运动并通过与补油信号发生器相互作用,将导杆位置信号转变为开关量电信号并传送给控制单元PLC;执行单元为隔膜行程控制系统中的两位三通电磁换向阀及两位两通阀组,由PLC发出指令给执行单元通过补、排油来控制隔膜室中的油量从而达到限定隔膜的位置;并通过补、排油信号检测隔膜是否破损。
相关展示


